
各位创客们
第六届江门市“乐业五邑”创业创新大赛
报名通道已开启!
报名时间:
即日起—8月31日止
这份网上报名指引请收好!
首先,请您登录报名系统,按照下面步骤逐步操作:
(一)浏览器输入报名网址或扫描下方二维码:
https://rsfw.jiangmen.cn/index.do
进入江门市人力资源和社会保障网上服务平台;

(二)点击【个人登录】—点击【广东省统一身份认证平台】进入平台;

(三)进入广东省统一身份认证平台后,点击选择【个人登录】,打开微信“扫一扫”扫码;

(四)扫码后,在手机进行操作即可登录如图所示;

(五)成功登录后,菜单栏点击【就业创业】,选择点击【乐业五邑创业创新大赛】;

(六)选择所需报名的赛道,以“返乡入乡创业赛道—企业组”为例,点击左侧【我要报名】;

接下来,请您填写报名信息:
(七)进入基础信息填报界面,请按照大赛规则填写完整必填信息后,点击右上角【下一步】;

(八)填完基础信息后,进入参赛项目信息界面,填写信息后点击【下一步】;

(九)填完项目信息后,进入“可行性分析报告”界面,填写信息后点击【下一步】;

(十)填完可行性报告信息后,进入到上传附件材料界面,上传后点击“保存”或“保存并提交”;点击“保存”后想提交,可点击列表“提交申请”。(备注:上传附件有误,可点击“删除”后重新上传);

(十一)如上传错误点击【红色图标】,可删除;

(十二)上传资料完成后,点击【保存】后确定;

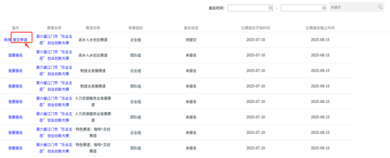
(十三)如信息有误,点击【修改】可进行信息修改;

接下来,请您提交报名信息:
(十四)确认无误后提交信息,点击【提交申请】;

(十五)点击【提交申请】后出现弹窗,点击【确定】,出现“提交成功”弹窗,即报名成功。

报名过程中,如遇到不懂的问题,可联系我们的工作人员:
1.第六届江门市“乐业五邑”创业创新大赛总执行方
报名咨询电话:
0750-3935697 彭女士
19867355085 黎先生
2.报名过程中遇到技术问题可及时联系技术人员
联系电话:0750-3873738
(工作时间接听:周一到周五8:30-12:00、14:30-17:30)

扫码关注我们

